从Oracle安全能力看国产数据库差距

在数字化生存的今天,数据已成为企业的核心资产与生命线。然而,从核心业务数据、客户隐私信息到知识产权,这些存储在数据库中的宝贵财富,正面临着来自外部攻击、内部威胁以及合规失误的多重挑战。数据泄露不仅会引发巨额的经济损失和严厉的法律制裁,更会对企业声誉造成毁灭性打击。因此,构建一个纵深防御、贯穿数据全生命周期的数据库安全体系,已不再是可选项,而是关乎企业生存与发展的战略必需。它不仅是满足GDPR、PCI DSS等法规合规的基石,更是赢得客户信任、保障业务连续性的核心竞争力。本文尝试从Oracle数据库的安全能力为切入点,说明数据库应具备的安全能力及国产数据库的现状差距。

1. 数据库面临的安全威胁

1.png

这幅安全示意图清晰勾勒出数据库面临的立体化安全威胁生态,以下从五个关键维度进行解读:

1)终端用户层的渗透风险

攻击者可能伪装成正常用户(Attack Users)或通过木马控制合法账号,利用弱密码、凭证窃取等方式突破身份认证屏障。一旦获取会话权限,攻击者可通过SQL注入、权限提升等操作直接窃取敏感数据。

2)应用层的漏洞利用

应用程序成为攻击重点,攻击者通过渗透存在安全缺陷的应用(Attack Apps),利用代码注入、API滥用等手段横向移动至数据库连接层。特别是当应用与数据库采用静态凭证或过度授权时,攻击者可轻易通过应用服务器跳板访问核心数据。

3)网络传输层的侦听与篡改

网络路径(Attack Network)上存在中间人攻击风险,攻击者可能截获未加密的数据库通信流量,通过协议分析窃取认证信息或执行重放攻击。图示中直连数据库的箭头暗示绕过前端防护的直接端口扫描与暴力破解尝试。

4)管理权限的内部威胁

系统/数据库管理员账户成为高价值目标,攻击者通过钓鱼邮件、漏洞利用获取管理员权限(Attack Admins)后,可不受审计约束地批量导出数据。更严峻的是内部管理员滥用职权直接访问敏感信息,体现权限隔离机制的缺失。

5)数据生命周期的扩散风险

"目标数据副本"(Target Data Copies)揭示纵深威胁:开发测试环境中的数据库克隆往往缺乏生产环境的安全管控,攻击者通过渗透低安全域的非生产系统,可间接获取数据副本。同时"利用数据库"(Exploit Database)与"绕过数据库"(Bypass Database)节点表明,攻击者可能通过已知漏洞直接攻陷数据库服务,或利用配置错误绕过安全策略。

上图揭示数据库安全需建立纵深防御体系:从终端身份治理、应用安全加固、传输加密,到严格的权限分离(如Database Vault)、数据脱敏(如Data Masking)及全链路监控(如Audit Vault),构成覆盖数据生成、传输、使用及销毁全生命周期的防护网络。下文将从上述角度来看看Oracle是怎么做的。

2. 数据库面临的安全威胁

2.jpg

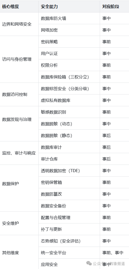
上图将Oracle的安全能力通过访问流程做了梳理。这张图的核心价值在于它展示了现代数据库安全的几个关键理念:一是纵深防御,安全不是单点措施,而是由外到内、层层递进的多重防护体系;二是以数据为中心,所有安全措施的最终目标都是保护核心资产——数据本身,特别是敏感数据;三是全生命周期管理,安全覆盖了从数据识别、访问控制、实时监控到事后审计的完整生命周期;四是自动化与智能化,强调使用工具(如敏感数据自动发现、权限自动分析、统一安全管理平台)来提升安全运营的效率和准确性。下面通过一张表格将Oracle的安全能力展开说明。

3.png

数据库防火墙

Oracle数据库防火墙是一款专门用于保护数据库安全的强大工具,它通过在应用程序与数据库之间建立一道智能屏障,实时监控、分析并控制所有传入的SQL流量。其核心能力在于基于SQL语法进行深度分析,而不仅仅是简单的字符串匹配,从而能精准识别和防御包括复杂SQL注入在内的外部攻击与内部越权行为。它通过实施白名单(只允许已知合法SQL)、黑名单(明确禁止恶意模式)和异常列表等灵活策略,对数据库访问进行细粒度控制。该防火墙支持在线阻断模式(主动拦截威胁)和旁路监控模式(用于审计),并能监控本地数据库会话,有效满足了防范数据泄露、监控特权用户操作以及生成符合SOX、PCI DSS等法规的审计报告等多种合规性与安全需求,为Oracle及其他主流数据库提供了一道坚实的安全防线。

网络加密

Oracle数据库的网络加密能力通过其原生网络加密和基于标准的TLS/SSL两种技术路径,为数据库客户端与服务器之间的所有网络传输数据提供端到端的保护。它通过在网络层面自动对传输数据(包括SQL语句、查询结果等)进行高强度加密(如使用AES256算法),有效防止数据在传输过程中被窃听或窃取,确保数据隐私性;同时,该功能通过数据完整性校验(如使用SHA256算法)来探测并阻止数据在传输途中被恶意篡改或重放攻击,保障数据的完整性与真实性。这项能力无需修改应用程序即可透明启用,既可以选择Oracle原生的、无需证书的简化配置方案,也可以选择符合行业标准的TLS协议以实现更严格的身份验证,从而为满足各类合规性要求和构建纵深防御体系奠定了坚实基础。

密码策略

Oracle数据库的密码策略功能是基础性的安全机制,它通过名为“PROFILE”的配置文件对用户密码的生命周期、复杂度和使用习惯进行强制性管理。该功能能够强制执行密码复杂性要求(如最小长度、需包含数字/大小写字母),设定密码的最长有效期限和最短重用时间,并在一段时间内连续登录失败后自动锁定账户。其核心目标是预防密码被猜测、暴力破解或不当使用,从而确保每个用户账户凭证本身的安全强度,是数据库访问控制的第一道基石。

用户认证

Oracle数据库的认证功能是验证用户身份、控制数据库访问入口的关键环节。它决定了用户如何向数据库证明“我是谁”,不仅支持传统的“数据库用户名+密码”认证方式,还提供了操作系统认证、以及与Kerberos、PKI证书或RADIUS等集成的强认证方式。该功能确保了只有经过身份验证的合法用户才能建立与数据库的连接会话,并且通过在多层级应用环境中支持代理认证和客户端标识符,它能够追踪最终用户身份,为后续的审计和访问控制提供了可靠的身份依据。

权限分析

Oracle数据库的权限分析功能是一项强大的安全特性,它通过动态捕获和深入分析数据库会话在运行时实际使用的系统权限、对象权限和角色,精准识别出哪些被授予的权限是业务运行所必需的、哪些是冗余未使用的,从而生成详细的权限使用报告,为管理员实施“最小权限原则”提供确凿依据;该功能能有效帮助企业安全地回收过度授予的权限(尤其是像ANY这类高风险的宽泛系统权限),显著缩小内部和外部攻击面,强化对特权用户访问行为的控制,并在满足各类法规合规性要求的同时,最大限度地降低因权限滥用而导致的数据安全风险。

数据库保险箱(三权分立)

Oracle Database Vault是一款高级安全选件,其核心目标是实现“职责分离”和实施“最小权限原则”,专注于解决内部特权用户(如DBA)权力过大的问题。它通过创建“安全域”将敏感的业务数据对象(如表、模式)保护起来,即使拥有DBA权限的用户,若未被授权于该域,也无法访问域内数据;同时,它利用“命令规则”基于用户、时间、位置等上下文精细控制高风险SQL命令(如DROP TABLE)的执行。这项功能在标准权限体系之上建立了一道强大的内部防线,有效防止了特权账户滥用导致的数据泄露或篡改。

数据标签安全(分类分级)

Oracle标签安全提供了一种基于敏感度标签的强制性行级访问控制能力,它通过为数据库中的每一行数据打上包含等级、分隔区和组等多维信息的安全标签,同时为用户会话授予相应的访问权限标签,从而在数据库内核层透明且强制地实现数据访问控制,确保用户只能读取或修改其权限匹配的数据行;这项功能无需修改应用程序即可实现高效的数据隔离,特别适用于在多租户或复杂组织架构下安全地整合不同密级的数据,并有效满足诸如数据隐私保护等合规性要求。

虚拟私有数据库-VPD(行列控制)

Oracle数据库的虚拟私有数据库功能通过在数据库内核层面实施强制访问控制,为数据提供行级和列级的精细化安全保护,其核心能力是使用安全策略函数动态且透明地向所有针对受保护表或视图的SQL查询自动添加基于特定业务逻辑的WHERE条件(即谓词),从而确保不同用户或应用程序在执行相同操作时只能访问到其被授权的数据子集;这项技术将安全策略从应用程序代码中剥离并集中到数据库层强制执行,有效简化了应用开发、防止了通过任何工具的直接数据访问绕过,并能灵活实现基于用户身份、会话上下文等因素的复杂数据隔离需求。

敏感数据识别

Oracle 提供了强大的敏感数据识别功能,这主要通过其 Oracle Data Safe 服务中的 “数据发现” 组件来实现。它能够基于预定义的超过170种敏感数据类型(如个人身份信息、金融数据、医疗信息等)以及用户自定义类型,通过列名模式匹配、数据内容采样和字典关系分析(如主外键关联)等多种机制,自动扫描并定位数据库中的敏感信息,生成可管理、可调整的敏感数据模型,从而为后续的数据脱敏、访问控制策略制定以及满足GDPR、PCI DSS等合规性审计要求提供准确的数据资产清单。

静态脱敏(Oracle Data Masking and Subsetting Pack)

Oracle Data Masking and Subsetting Pack 提供了一套完整的数据脱敏与子集化解决方案,其核心能力是通过集成在Oracle Enterprise Manager中的集中管理平台,自动发现数据库中的敏感数据并构建应用关系模型,进而利用丰富的预定义或自定义脱敏格式库(如随机化、替换、乱序等),在保持数据业务逻辑和引用完整性的前提下,将生产环境中的真实敏感信息转换为虚构但结构有效的仿真数据;同时,该功能支持数据子集化,能够按条件或比例从生产库中提取最小必要的非敏感数据子集,从而显著降低开发、测试等非生产环境的数据泄露风险与存储成本,并有效满足GDPR、PCI DSS等数据隐私与安全合规性要求。

动态脱敏(实时编纂,Data Redaction)

Oracle数据库的实时数据编纂能力通过其动态数据脱敏技术,在数据库查询处理阶段对返回结果中的敏感信息进行实时屏蔽,此过程基于可灵活配置的编纂策略(包括完全编纂、部分编纂、正则表达式替换、随机值替换等多种方式),并能够结合会话上下文(如用户身份、执行环境等)实现条件触发,从而确保未经授权的用户或应用程序只能看到经过脱敏的数据,而底层存储的真实数据始终保持不变且无需修改应用程序代码,最终在实现精细化的数据访问控制、有效防止敏感信息越权访问的同时,完美满足数据隐私保护法规的合规性要求。

数据库审计

Oracle数据库的审计功能是一项核心安全机制,它通过监控、记录和分析数据库内的用户操作与系统事件,为数据库系统提供全面的问责制保障,其核心价值在于实现安全事件的早期发现、满足合规性要求以及强化内部控制。该功能主要包含语句审计(针对特定类型的SQL语句)、权限审计(监控系统权限的使用)和对象审计(聚焦于特定模式对象上的操作)等标准审计类型,并在此基础上提供了细粒度审计能力,允许管理员基于预定义的策略和复杂条件(如特定IP地址、用户、时间或操作内容)进行高度选择性和有效的审计。从Oracle Database 12c开始,统一审计成为战略性的审计框架,它将原有的审计线索统一到单一轨迹中,通过策略化配置简化了管理,并显著提升了审计记录的安全性和查询效率,同时因其事务性特性而对数据库性能影响甚微。审计记录可存储在数据库表(如UNIFIED_AUDIT_TRAIL)或操作系统文件中,通过AUDIT_ADMIN和AUDIT_VIEWER角色实现职责分离,确保审计数据本身无法被直接篡改,从而为追踪可疑活动、监控数据访问行为及生成合规报告提供了可靠基础。

审计仓库(Oracle Audit Valut)

Oracle Audit Vault 提供企业级的统一安全审计能力,它通过部署在源端的采集代理自动化地集中收集来自多种数据库(如 Oracle、SQL Server、DB2)和操作系统的审计记录,并将其加密存储于一个受特殊保护的中央仓库中;该平台利用预定义的策略对整合后的海量审计数据进行实时分析,并能对异常或高风险活动(如特权用户操作、敏感数据访问)自动触发警报,同时提供大量开箱即用的合规性报告(支持 SOX、PCI DSS 等)和深度分析工具,从而帮助企业有效监控内部威胁、满足法规要求,并确保审计数据的完整性与不可篡改性。

透明数据加密(TDE)

Oracle透明数据加密(TDE)是一项构建在数据库存储引擎层的核心数据安全能力,它通过自动、无缝地对存储在磁盘上的数据文件(包括表空间文件、归档日志文件)以及备份文件(如RMAN备份)进行高强度加密(如使用AES256算法),从而在操作系统层面和存储介质层面构筑坚实的安全防线,有效防止因硬盘丢失、备份磁带被盗或云环境下的非授权文件访问所导致的敏感数据泄露风险。这项技术的核心优势在于其卓越的透明性——已通过认证的应用程序和用户在访问加密数据时完全无需修改任何代码或查询语句,加解密过程由数据库内核自动完成,对业务逻辑和性能影响极微,尤其表空间级加密可借助现代CPU的硬件加速指令实现近乎零的性能开销。

其安全性的基石在于一套严谨的双层密钥管理体系:数据本身由表密钥(针对列加密)或表空间加密密钥(针对表空间加密)进行加密,而这些数据密钥又被一个集中式的主加密密钥加密保护;该主密钥并不存储在数据库内部,而是被安全地隔离存储在独立的外部凭证库(如Oracle Wallet文件)或更安全的硬件安全模块(HSM)中,实现了密钥与加密数据的物理分离。这种架构不仅确保了加密数据的强度,更关键的是实现了严格的职责分离——即使是拥有最高权限的数据库管理员(DBA)通常也无法直接获取主密钥,从而无法解密数据,有力防范了内部特权滥用风险。

此外,TDE与Oracle数据库生态深度集成,支持在线加密现有数据、安全的密钥轮换(无需重加密全部数据),并能与Oracle Data Guard等容灾方案无缝协作,确保备库数据同样安全。最终,这项技术为企业提供了从存储介质到备份体系的端到端静态数据保护方案,是满足PCI DSS、GDPR、HIPAA等众多数据安全与隐私合规法规要求的关键技术手段。

密钥保管箱(Key Vault)

Oracle Key Vault 的核心能力在于为企业提供一个集中、安全且高可用的统一平台,用于全生命周期地管理各类关键性安全资产,包括Oracle透明数据加密的主密钥、数字证书、SSH密钥、数据库密码凭据及其他API令牌等;它通过内置的高可用多主集群架构确保服务连续性,并基于RESTful API和KMIP等行业标准协议与Oracle数据库、第三方应用及自动化运维工具深度集成,从而彻底取代了传统分散且易出错的密钥文件手动管理方式,不仅极大简化了在混合云、数据库集群(如RAC、Data Guard)等复杂环境下的密钥分发与轮换流程,更通过严格的访问控制、完整的审计日志和自身加密存储机制,为整个IT基础设施构建了一个符合合规性要求、能够有效防止敏感凭据泄露的信任中枢。

防篡改(Immutable/Blockchain Table)

Oracle Blockchain Table(区块链表)和Immutable Table(不可变表)是Oracle数据库(自19c和21c版本引入)为应对内部威胁和合规需求设计的两种防篡改数据存储解决方案,它们均通过限制数据修改操作来确保信息完整性。Blockchain Table通过加密哈希链(如SHA2-512算法)将行数据链接成不可分割的序列,每行包含前一行哈希值,任何篡改会导致链断裂且可通过内置验证工具快速检测,同时支持最终用户数字签名和周期性加密摘要分发至外部平台(如Ethereum),实现跨系统可验证性,适用于金融审计、司法存证等需强证据链的场景。而Immutable Table作为轻量级替代方案,省略了哈希链结构,仅通过数据库内核强制实施“只插不删不改”策略,显著降低性能开销,但仍依赖保留策略(如NO DELETE UNTIL n DAYS)控制数据生命周期,并可通过DBMS_IMMUTABLE_TABLE包管理过期数据,更适合日志记录、合规跟踪等需高效防内部篡改但无需第三方验证的场景。两者均通过NO DROP和NO DELETE子句定义表级与行级保留期,且对应用程序透明,但Blockchain Table因加密计算和链式结构需更高资源成本,且在多租户环境中部署时受限(如无法在CDB根容器创建),而Immutable Table更灵活适配高吞吐需求;最终用户可依据安全强度、验证需求及性能权衡选择,二者共同强化了Oracle数据安全生态的纵深防御能力。

安全备份(Oracle Secure Backup)

Oracle Secure Backup 提供企业级数据保护方案,其核心能力体现在通过多层加密体系确保备份数据全生命周期安全:支持在主机端使用AES算法对数据进行源头加密,或利用磁带驱动硬件加密卸载性能压力,同时深度集成Oracle RMAN实现数据库备份的端到端加密传输。该方案通过基于角色的精细化访问控制限制未授权操作,并采用SSL/TLS通道保障备份节点间通信安全,结合中央化策略管理实现加密密钥自动轮换与保留周期控制。OSB无缝兼容异构存储环境(本地磁带库、NAS设备及OCI对象存储),支持与Oracle Enterprise Manager集成实现可视化监控策略合规性,并能通过SAN环境动态共享驱动优化资源使用,最终构建起覆盖数据传输防窃取、存储介质防泄露、操作权限防滥用的全方位保护体系,为满足GDPR等法规对备份数据的保密性要求提供技术保障。

配置与合规管理(Configuration & Compliance Mgmt)

Oracle的配置与合规管理能力主要通过Oracle Enterprise Manager实现,它为企业级IT环境提供集中化的自动化合规管控平台。该能力核心在于通过预置的合规框架(如CIS安全基准、STIG指南)和可自定义的策略库,持续评估数据库、中间件等目标的配置状态与安全策略的符合度。其配置管理功能可自动采集系统配置信息,建立黄金配置基准,并支持跨环境配置比对与漂移检测,实时发现未经授权的变更。在合规评估方面,系统能按计划自动执行合规扫描,生成量化合规分数(0-100%)和详细评估报告,精准定位违规项并提供修复脚本,显著简化PCI DSS、GDPR等法规的合规审计流程。该平台还提供强大的策略管理功能,允许管理员根据企业需求创建自定义合规标准,设置规则权重,构建分层合规模型。实时监控模块能跟踪关键文件、数据库对象和系统进程的变更,生成带审计状态标记的观察记录,强化安全问责。通过统一的仪表盘,管理员可总览整个资产的安全态势,实现从安全基准制定、持续监控到违规自动修复的闭环管理,有效降低配置错误导致的安全风险,确保异构环境配置一致性,提升运维效率并满足不断变化的合规要求。

补丁及更新(Upgrade/Patch)

Oracle的补丁与更新能力构建了一套系统化的安全漏洞修复体系,其核心机制是通过定期发布的补丁集持续强化数据库防御能力。该体系以季度为周期发布关键补丁更新(CPU)或安全补丁更新(SPU),这些补丁专门修复已发现的安全漏洞并具有累积性特性,确保安装最新补丁即可获得所有历史安全修复;同时提供的补丁集更新(PSU)在包含全部安全修复基础上,还集成了经过严格验证的非安全性错误修复,为追求高稳定性的生产环境提供更全面的增强方案。在紧急安全威胁出现时,Oracle能够打破固定发布周期,通过安全警报机制提供针对零日漏洞等危急情况的紧急补丁,展现其安全响应的敏捷性。补丁管理流程依托于功能强大的OPatch命令行工具,该工具支持补丁的安装、查询、回滚全生命周期操作,并能自动检测补丁冲突,特别对Oracle RAC集群环境提供滚动补丁安装支持,最大限度保障业务连续性。在云环境尤其是Autonomous Database中,该能力进一步升级为全自动管理模式,从补丁推送到应用验证完全由云平台自动完成,彻底解放运维人力。为保障补丁应用安全,Oracle建议建立严格的补丁管理制度:定期关注My Oracle Support安全公告、在独立测试环境中充分验证补丁兼容性、操作前完成数据库全量备份,并利用OPatch的回滚功能构建安全防护网。这套覆盖漏洞披露、补丁开发、测试验证到部署运维的完整生命周期管理体系,有效帮助客户应对不断演进的网络威胁,满足各类合规审计对软件版本管理的严格要求,是Oracle纵深防御安全战略中不可或缺的基础环节。

态势感知(数据库安全评估工具,DBSAT)

Oracle数据库安全评估工具(DBSAT)是一款功能强大的专业化安全扫描与分析工具,其核心能力在于通过自动化、系统化的方式全面评估Oracle数据库的安全状况,并生成基于业界权威标准(如CIS基准、STIG指南、GDPR等)的详细合规报告与可操作性修复建议。该工具采用模块化设计,其“收集器”组件首先在目标数据库服务器上无侵入地运行,通过执行一系列精心设计的SQL查询和操作系统命令,高效采集包括用户权限、系统配置、审计设置、加密状态及网络参数在内的全方位安全元数据;随后,“报告器”组件对收集的原始数据进行深度分析,识别出与安全最佳实践存在偏差的配置项、过宽的权限授予、潜在漏洞及不合规设置,并按照风险等级(高危、中危、低危)对发现项进行优先级排序,最终输出结构清晰、内容详尽的评估报告(支持HTML、Excel、JSON等多种格式),不仅明确指出具体风险点,更提供一步到位的修复脚本和操作指导,极大地简化了安全加固流程。此外,DBSAT还集成了独特的“发现器”功能,能够利用内置的敏感数据模式库(支持多国语言)自动扫描和分类数据库中的个人身份信息、金融数据等敏感信息,生成敏感数据分布图,帮助组织有效应对数据隐私法规。该工具支持从Oracle Database 10.2.0.5到最新版本的所有环境(包括本地部署、Oracle云及其他云平台),并能对Oracle Autonomous Database进行评估,使其成为数据库管理员、安全分析师和审计人员进行定期安全体检、合规审计准备和敏感数据治理的理想选择,为实现持续的安全态势管理奠定了坚实基础。

统一安全平台(Data Safe)

Oracle Data Safe 作为 Oracle 云基础设施中的统一数据库安全平台,提供覆盖数据库安全生命周期的综合管理能力,其核心能力包括安全配置评估、敏感数据自动发现与分类、静态数据脱敏、用户行为风险评估、统一活动审计以及内置SQL防火墙防护。该服务通过集中式控制台实现对多云及本地Oracle数据库的安全态势管理,能够基于CIS等安全标准自动识别错误配置与用户权限风险,利用预定义策略精准定位敏感数据并生成符合业务逻辑的仿真数据用于开发测试,同时持续监控数据库活动并建立SQL行为白名单以实时防御注入攻击,最终通过可视化仪表盘和合规报告帮助企业有效满足GDPR、PCI DSS等法规要求,全面提升数据安全防护与运维效率。

应用安全(Real Application Security ,RAS)

Oracle Real Application Security (RAS) 是现代Oracle数据库提供的一种高级、声明式的安全框架,其核心能力在于将应用程序层的用户身份、角色和访问控制逻辑直接嵌入数据库内核进行集中化管理与强制执行。它通过引入“应用用户”和“应用角色”概念,使权限体系与底层数据库Schema解耦,从而更精准地映射实际业务逻辑;并利用数据领域(Data Realm)定义受保护的数据范围,再通过访问控制列表(ACL)精细授权,实现对数据行和列级别的操作控制(如允许特定角色查询但禁止更新某列)。该机制原生支持三层架构,能安全地将最终用户会话上下文从中间层传递至数据库,确保在任何访问路径下安全策略均能生效。相较于需要编写大量PL/SQL代码的传统虚拟私有数据库(VPD),RAS采用声明式配置大幅简化了策略管理,不仅有效防止了通过应用层直接连接数据库的数据绕过风险,还提供了基于最终用户身份的精准审计追踪,显著提升了复杂企业应用在满足数据隐私法规(如GDPR)方面的能力,同时降低了开发和维护成本。

3. 国产数据库安全对比

上面看到Oracle的安全能力,那么国产数据库的安全能力又如何呢?下面是针对部分国产数据库的安全能力进行对比。此部分产品能力从各厂商官网文档获取,部分信息未获取到不代表不具备此能力。产品能力对比按照Oracle相关能力作为参照物。有些安全能力是通过其他方式间接实现,这里用Y*来表示。

4.png

阅读剩余
THE END